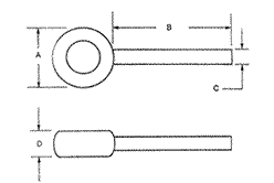
Ball Plug Gage With One Flat Side
An A.G.D.S. handle is supplied at no additional cost. ( American Gage Design Standard)
"A" - The standard size tolerance for the ball is ± .0001" (± .00254 mm) The roundness or sphericity of the ball is 25 millionths of an inch (.000635 mm) maximum. The surface finish of the ball is less than 1.5 microinches (38 NM) Ra. Finer Tolerance can be supplied on special order.
"B" - The stem length listed is standard, any stem length up to 6" (152.4 mm) will be provided at no additional cost.
"C" - The diameter listed is standard, any reasonable diameter will be supplied at no additional cost.
FLAT - The dimension of the flat will be produced to your requirement. The standard tolerance for the flat is ± .002" (± .0508 mm), but a closer tolerance can be held for a small additional charge.
| A-Diameter Ball Size |
B-Dimension
Stem Length |
C-Dimension
Stem Diameter |
Prices |
| 1 - 5 Pieces |
6 - 10 Pieces |
Over 10 Pieces |
| Under .050" (1.3 mm) Requires a Special Quote |
0.050" - 0.5"
(1.3 mm - 12.7 mm) |
3.0"
(76.2 mm) |
0.032"
(.813 mm) |
$95.00 double |
$86.10 double |
$78.09 double |
| $53.50 single |
$49.05 single |
$45.05 single |
0.5001" - 0.594"
(12.7 mm - 15.09 mm) |
3.0"
(76.2 mm) |
0.187"
(4.75 mm) |
$96.30 double |
$87.27 double |
$79.15 double |
| $54.15 single |
$49.64 single |
$45.58 single |
.5941" - 1.0"
(15.09 mm - 19.05 mm) |
3.0"
(76.2 mm) |
0.187"
(4.75 mm) |
$98.26 double |
$84.72 double |
$84.72 double |
| $55.13 single |
$48.36 single |
$48.36 single |
| Over 1" Requires a Special Quote |
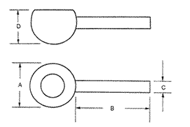
Ball Plug Gage with Two Parallel Flats
An A.G.D.S. ( American Gauge Design Standard ) handle is supplied at no additional cost.
"A" - The standard size tolerance for the ball is ± .0001" (± .00254 mm) The roundness or sphericity of the ball is 25 millionths of an inch (.000635 mm) maximum. The surface finish of the ball is less than 1.5 microinches (38 NM) Ra.Finer Tolerance can be supplied on special order.
"B" - The stem length listed is standard, any stem length up to 6" (152.4 mm) will be provided at no additional cost.
"C" - The diameter listed is standard, any reasonable diameter will be supplied at no additional cost.
FLAT - The dimension of the flat will be produced to your requirement. The standard tolerance for the flat is ± .002" (± .0508 mm) but a closer tolerance can be held for a small additional charge.
A-Diameter
Ball Size |
B-Dimension
Stem Length |
C-Dimension
Stem Diameter |
Prices |
| 1 - 5 Pieces |
6 - 10 Pieces |
Over 10 Pieces |
| Under .050" Requires Special Quote |
.050" - 0.5"
(1.3 mm - 12.7 mm) |
3.0"
(76.2 mm) |
0.032"
(.813 mm) |
$113.00 double |
$102.30 double |
$92.67 double |
| $ 62.50 single |
$ 57.15 single |
$52.34 single |
0.5001" - 0.75"
(12.7 mm - 19.05 mm) |
3.0"
(76.2 mm) |
0.187"
(4.75 mm) |
$114.30 double |
$105.24 double |
$95.32 double |
| $ 63.15 single |
$ 57.74 single |
$ 52.86 single |
.7501" - 1.00"
(19.05 mm - 25.4 mm) |
3.0"
(76.2 mm) |
0.250"
(6.35 mm) |
$119.72 double |
$108.35 double |
$98.11 double |
| $ 65.86 single |
$ 60.18 single |
$ 55.06 single |
| Over 1" Requires a special quote |
See here for Ball Gage prices.